224 Exam Chair Back Up / Down Function Theory of Operation
|
Model |
224-001, -002, -003, and -011 |
| Serial Number | All |
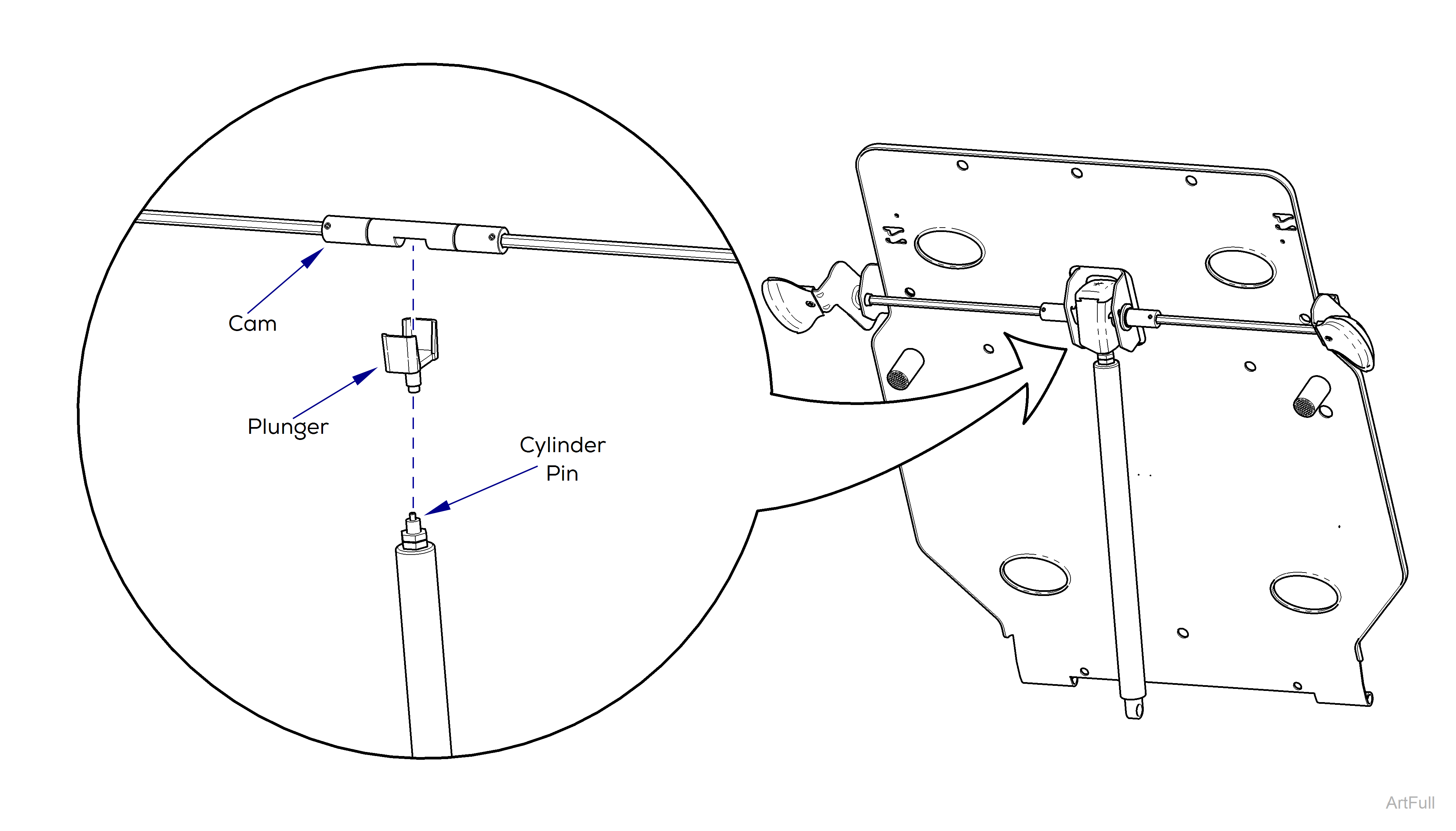
This illustration shows only the components that affect the activation of the Back Up / Down function.
Back Section Release Mechanism
When either Back release handle is squeezed, the linkage rotates the cam. The rotating cam pushes the plunger down, compressing the cylinder pin. When the cylinder pin is compressed, the pressure inside the cylinder is released, allowing the Back section to be repositioned.
When the Back handle is released, the cam and plunger return to their normal position. This removes pressure from the cylinder pin allowing the cylinder to pressurize and lock the Back section in place.
